There are lots of gorgeous ones to select from. Of course, the choice of yours of wood will in addition be primarily dependant on the budget of yours for the project as well. The purpose for modern safety, fire and building codes and regulations would be to make sure your safety as well as the preservation of your house.
Fireplace Mantel Code Requirements

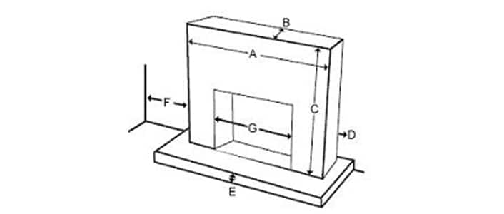
There are lots of businesses that are actually operating with custom fireplaces, therefore you have to uncover the best one to perform the task. In the opinion of mine, an open fireplace is totally incomplete with a complementary mantel. These measurements assume you have a facing, which is a decorative material as brick or maybe stone surrounding the fireplace opening.
Image result for fireplace surround code requirements Fireplace hearth, Metal fireplace

An over-mantel is actually only a next mantel installed above the principle fireplace mantel, built to either the same dimensions or perhaps sometimes narrower and either shorter or taller compared to the principal mantel below. In case you have a fireplace in the home of yours, you may wish to perk up your mantel or maybe you may not have one.
Mantel Codes – Finish Carpentry – Contractor Talk
Monessen DLX gas log clearance and specification by the GasLogPro

Image result for fireplace surround code requirements Fireplace mantel Fireplace dimensions

What Is the Proper Height for a Fireplace Mantle? Fireplace mantle, Fireplace, Mantle height

Buying & Installing A Stone Or Tile Fireplace Process-Artistic Stone Kitchen and Bath

How to Remove a Fireplace Mantel 🔨 – Step-by-Step Guide

Selecting Fireplaces and Mantels at The Home Depot

Salvaged: The Basics of Fireplace Mantels

11 Budget-Friendly Fireplace Remodeling Ideas – Remodel Or Move

Fireplace Information Fireplace Reviews Wood Stove Info

What is the proper fireplace mantel height? – Quora
Fireplace Mantel/Built-in Estimate? (design) – Woodworking Talk – Woodworkers Forum

Fireplace, mantel advice

Related Posts: